دورههای آنلاین در حال برگزاری، بازپخشها قابل مشاهده، و ثبت نام دوره و خرید از فروشگاه در دسترس شماست
سرا، همیشه در کنار شما
سرا
دورهها
|
اخبار مهندسی
|
بلاگ مهندسی
|
فروشگاه
|
آزمونسرا
|
بلاگ
دستهبندی
آزمونهای مهندسی
دستهبندی
آموزش نرمافزارهای مهندسی
دستهبندی
آموزشهای مهندسی
دستهبندی
دانلود فایلهای مهندسی
رشته
عمران
معماری
برق
مکانیک
صنایع
نقشهبرداری
مدیریت
شهرسازی
گسیختگی خاک
ضوابط آرماتورهای فولادی
دانلود فهرست بها جدید سال ۱۴۰۲ و قبل + رستههای ابنیه، راه و باند، تاسیسات و …
محاسبه تعداد گمانه ، فاصله بین گمانهها و عمق گمانه چگونه است؟
دانلود نرمافزار متلب Matlab
مراحل دریافت پروانه نظام مهندسی – اخذ اشتغال به کار مهندسان
کاربرد متلب (Matlab) در مهندسی عمران
روش اجرای سازه نگهبان خرپایی
آشنایی با گرایش مهندسی زلزله با تدریس دکتر امیرحسین خلوتی
دانلود غلط نامه مباحث مقررات ملی ساختمان
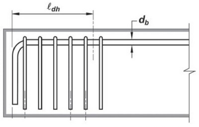
دانلود اکسل محاسبه طول مهار میلگرد قلابدار
میلگرد انتظار خم شده
1
2
3
4
5
6
7
8
9
10
11
12
دورهها
بلاگ مهندسی
فروشگاه
آزمونسرا